柴油發電機組I號噴油泵由分泵、油量控制機構、傳動機構和泵體四部分組成
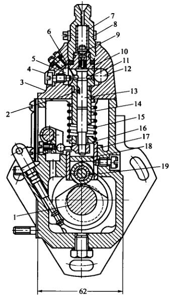
今天廣西頂博電力為大家分享一下國產柴油發電機組核心部件噴油泵-國產I號噴油泵。如圖所示,為四缸柴油機I號噴油泵的總體構造圖。由分泵、油量控制機構、傳動機構和泵體四部分組成。
分泵:在柱塞上部的圓柱面上銑有45°的左向斜槽,槽中鉆有小孔,與柱塞中心的小孔相通。柱塞中部有一淺的小環槽,可儲存少量柴油,以潤滑柱塞與柱塞套筒之間的摩擦面。柱塞套筒上有兩個在同一高度上的小孔,靠近斜槽一邊的為回油孔,另一邊為進油孔。在塞套筒裝入泵體后,為了保證這兩個油孔的正確位置,同時,為防止柱塞套筒在工作時發生轉動,在柱塞套筒上部銑有小槽,并且用定位螺釘加以定位。柱塞套筒的上部為出油閥偶件(出油閥和出油閥座)和出油閥緊座。出油閥座與柱塞套筒上端面之間的密封是靠加工精度來保證的,并借出油閥緊座通過銅墊圈將出油閥座壓緊在柱塞套筒上。出油閥緊座的擰緊力矩為50~70N·m,過大可能壓碎墊圈。

I號噴油泵的分泵構造圖
1-高壓油管接頭; 2-出油閥; 3-出油閥座; 4,14-進油螺釘; 5-套簡; 6-柱塞; 7-柱塞彈簧; 8-油門拉桿; 9-調節臂; 10-凸輪軸; 11-固定接盤; 12-輸油泵偏心輪; 13-輸油泵; 15-放油螺塞; 16-手油泵; 17-驅動盤; 18-從動盤; 19-殼體; 20-滑套; 21-校正彈簧; 22-油量調整螺釘; 23-怠速限位螺釘; 24-高速限位螺釘; 25-調速手柄; 26-調速彈簧; 27-飛球
滾輪體總成:它由滾輪體、滾輪及調整墊塊等組成。滾輪內套裝有滾輪襯套,它們之間可相對轉動,而滾輪襯套也可在滾輪軸上轉動,這樣就使各零件磨損較均勻,提高了使用壽命。滾輪體裝在噴油泵下體的垂直孔內,滾輪體一側開有軸向長孔,定位螺釘尾部伸入此孔中,既可防止滾輪體工作時轉動,又不致妨礙其上下運動。
油量控制機構:國產I、Ⅱ、Ⅲ號系列泵都采用撥叉式油量控制機構。對于四缸噴油泵,則在同一供油拉桿上,用螺釘固緊有四個調節叉,各分泵柱塞尾端的調節臂球頭,分別放入相應調節叉的槽中,當供油拉桿移動時,使四個柱塞同時轉動,從而改變了各缸的供油量。柴油工作時,供油拉桿由調速器自動控制,根據外界負荷的變化自動調節供油量。如果分泵供油不合適而需要調節,則可松開該調節叉的鎖緊螺釘,使調節叉在供油拉桿上移動一定距離即可。
傳動機構:主要由驅動齒輪、凸輪軸和滾輪體等組成。驅動齒輪由曲軸通過情齒輪帶動。傳動機構的主要功用是推動柱塞向上運動,而柱塞下行則是靠柱塞彈簧的彈力。凸輪軸上的偏心輪用于驅動輸油泵。凸輪軸另一端固定有調速器的驅動盤,通過它將動力傳給調速器。凸輪軸的兩端由錐形滾柱軸承支承。通過一端裝于軸承內圈一側的調整墊片可調整凸輪軸的軸向間隙。調整時,要求凸輪軸轉動靈活而最大間隙不超過0.15mm滾輪體的構造如圖所示。
滾輪體總成的主要功用是保證供油開始時刻的準確性,對于多缸柴油機而言,還要保證各缸供油時刻的一致性。起保證作用的部位是滾輪下部到調整墊塊上平面的高度H。當噴油泵凸輪軸齒輪與曲軸齒輪相對位置一定時,H越大,柱塞關閉進油孔的時刻越早,供油開始時刻也越早。反之,H越小,供油開始時刻越延遲。因此要根據設計和試驗定出合適的滾輪體工作高度H,以保證供油開始時刻的準確性。

1-凸輪軸; 2-柱塞斜槽; 3-泵蓋; 4-定位螺釘; 5-回油道; 6-回油孔; 7-出油閥彈簧; 8-出油閥緊座; 9-出油閥; 10-出油閥座; 11-進油孔; 12-進油道; 13-柱塞; 14-柱塞套簡; 15一柱塞彈簧; 16-彈簧座; 17-挺柱體:; 18-墊塊; 19-滾輪
對于多缸機,各分泵的H值應相等。調整墊塊在噴油泵出廠時均已調好,不可隨意互換。墊塊是用耐磨材料制成并進行熱處理以提高硬度,因此使用中不易磨損。如長時間使用后磨損較多,可換面使用。
噴油泵泵體分上下兩部分,噴油泵上體用于安裝柱塞偶件及出油閥偶件,下體用于安裝凸輪軸、滾輪體和輸油泵等。泵體前側中部開有檢視窗孔,以便檢查和調整供油量。下部有檢視機油面的檢視孔。噴油泵上體中有一條油道,與各柱塞套筒外面的環形油槽相通。環形油槽則與柱塞套筒上的進、回油孔相通。由輸油泵供來的低壓油通過進油管接頭進入油道中。油道中的柴油壓力由裝在回油管接頭內的回油閥控制,一要求保持在5~10kPa范圍內。油壓過低,在柱塞下行時,柴油不能迅速通過進油孔進入柱塞上部油腔。當油量過多而使油壓升高時,多余的柴油會頂開回油閥流入柴油細濾器中。
廣西柴油發電機組廠家頂博電力為您提供國產、進口柴油發電機組、柴油發電機組設計、安裝、培訓及柴油發電機組故障技術咨詢;發電機服務熱線:13667715899
上一篇:
柴油發電機組閉式循環水冷卻系統下一篇:
國產柴油發電機組B型噴油泵的構造及特點
推薦文章
- 動力巨擎,智控機組——400KW上柴柴油發電機組,重新定義你的電力保障標準! 2026-03-13
- 400KW上柴柴油發電機組,工業級電力保障的王者之選 2026-03-13
- 動力巨擎,應急先鋒——康明斯720KW柴油發電機組,如何定義“可靠”? 2026-03-12
- 工廠備電選多大?直接上硬貨:這臺500kW玉柴發電機組,讓電力永不掉線 2026-03-11
- 2026備電選多大?為什么懂行的老板都選這臺500kW發電機組? 2026-03-11
- 停電不焦慮,這臺康明斯250KW柴油發電機組才是工廠的底氣! 2026-03-10
- 38升V12“心臟”!800KW康明斯發電機組,如何成為高端項目的“必備電力設備”? 2026-03-09
- 關鍵時刻,康明斯400KW發電機組,為你的核心負載提供可靠且穩定的保障! 2026-03-07
- 國際知名大型企業都在采購的發電機,到底強在哪? 2026-03-06
- 為什么對成本極其嚴苛的巨頭,哪怕多花錢也要選頂博?它到底強在哪? 2026-03-06






桂公網安備45010702002247